工程建设包括什么工作
时间:
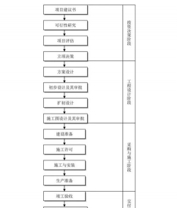
工程建设是一个广泛的概念,指的是从项目规划、设计、施工到验收和交付使用的一系列工作。它涵盖了多个专业领域和阶段,具体包括以下几方面的工作内容:

一、工程建设的主要阶段
1. 前期准备阶段
项目立项:进行可行性研究,确定项目是否可行。
选址与征地:选择建设地点,办理土地使用手续。
环境评估:进行环境影响评价(EIA)。
规划设计:包括初步设计、施工图设计等。
招标与合同签订:通过公开招标或邀请招标方式选择施工单位。
2. 施工阶段
土方工程:包括挖土、填土、地基处理等。
结构施工:主体结构的施工,如混凝土浇筑、钢筋绑扎、砌体施工等。
安装工程:包括水电安装、暖通空调(HVAC)、消防系统、电梯安装等。
装修工程:室内装修、外立面装饰等。
设备采购与安装:如电梯、锅炉、中央空调等设备的采购与安装。
3. 竣工验收阶段
质量检查:对工程质量进行检测和验收。
安全检查:确保符合安全规范。
环保验收:检查是否符合环保要求。
竣工资料整理:整理施工过程中的技术资料、图纸、验收记录等。
竣工备案:向相关部门提交竣工资料,完成备案手续。

4. 交付使用阶段
移交手续:将工程移交给使用单位。
运维管理:进入运营维护阶段,如物业管理和设备维护。
二、工程建设涉及的专业领域
| 领域 | 工作内容 |
| 建筑工程 | 民用建筑、工业厂房、商业综合体等的施工与管理 |
| 土木工程 | 道路、桥梁、隧道、水利设施等基础设施建设 |
| 机电工程 | 电力、给排水、暖通、消防、智能化系统等 |
| 装饰工程 | 室内装修、幕墙、景观绿化等 |
| 环保工程 | 污水处理、废气治理、固废处理等 |
| 信息系统工程 | 智慧建筑、安防监控、网络布线等 |
三、工程建设中常见的岗位职责
| 岗位 | 职责 |
| 项目经理 | 全面负责项目的进度、质量、成本控制 |
| 施工员 | 负责现场施工组织与管理 |
| 技术员 | 提供技术支持,解决施工中的技术问题 |
| 质量员 | 检查工程质量,确保符合标准 |
| 安全员 | 监督施工现场的安全,预防事故 |
| 材料员 | 管理材料采购、进场、保管与发放 |
| 预算员 | 编制工程预算、结算及成本控制 |
| 监理工程师 | 对施工质量、进度、安全等进行监督 |
四、工程建设的常见类型
房屋建筑工程
公路、铁路、机场、港口等交通工程
水利水电工程
矿山工程
石油化工工程
电力工程
智能化工程
市政工程(城市道路、供水、排水、绿化等)
五、工程建设的意义
推动经济发展和社会进步

改善人民生活条件
促进就业和技术发展
提高城市功能和基础设施水平
