建设工程指的是什么
时间:
“建设工程”是指通过施工活动,将设计图纸和技术要求转化为实际建筑物、构筑物及其附属设施的工程活动。它通常包括以下几个方面:

一、定义
建设工程是指为满足社会生产和生活需要,通过勘察、设计、施工、监理等环节,新建、改建、扩建各类房屋建筑、市政基础设施、交通工程、水利工程、电力工程等工程项目。
二、建设工程的范围
建设工程涵盖的范围非常广泛,主要包括以下几类:
1. 建筑工程
房屋建筑(住宅、办公楼、学校、医院等)
建筑物的主体结构和附属设施
2. 市政工程
道路、桥梁、隧道、给排水系统、污水处理厂、垃圾处理场等
3. 交通工程
公路、铁路、机场、港口、地铁等
4. 水利工程
水库、堤坝、灌溉系统、防洪工程等
5. 电力工程
输电线路、变电站、发电厂等
6. 工业工程

工厂、车间、生产线等工业建设项目
7. 其他工程
环保工程、通信工程、园林绿化工程等
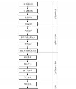
三、建设工程的主要阶段
1. 前期准备阶段
可行性研究、立项审批、勘察设计、招标投标等
2. 施工阶段
土建施工、设备安装、装修等
3. 验收与交付阶段
工程竣工验收、资料归档、交付使用等
四、相关法律法规
在中国,建设工程受到《中华人民共和国建筑法》、《建设工程质量管理条例》、《建设工程安全生产管理条例》等一系列法律法规的规范和管理。
五、建设工程的意义
是国家经济发展的重要支撑
是改善民生、提升城市功能的重要手段

是推动科技进步和社会发展的基础
建设工程就是指通过一系列技术、管理和施工活动,将设计方案转化为现实的工程实体,以满足社会对基础设施、公共设施和工业设施的需求。
