建设工程需要办什么
建设工程在不同国家和地区可能有不同的规定,但通常需要办理一系列的审批、许可和手续。以下是中国大陆地区常见的建设工程需要办理的手续和证件,适用于一般的新建、改建、扩建项目:

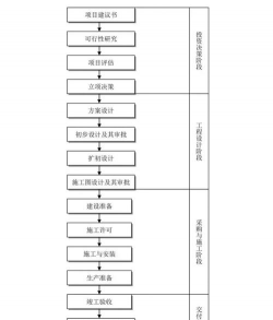
一、前期准备阶段
1. 立项审批(或备案)
适用范围:政府投资或需核准/备案的项目。
办理部门:发展和改革委员会(发改委)
所需材料:
项目建议书
可行性研究报告
环境影响评价报告(部分项目)
土地预审意见
用地规划许可证(部分项目)
2. 用地审批
适用范围:涉及土地使用的项目。
办理部门:自然资源局(原国土局)
所需材料:
用地申请书
用地预审意见
土地权属证明
建设用地规划许可证(后续步骤)
二、规划阶段
3. 建设用地规划许可证
办理部门:自然资源局
用途:确认项目用地符合城市规划要求。
4. 建设工程规划许可证
办理部门:自然资源局
用途:确认建设项目符合城市规划、设计规范等。
三、施工阶段
5. 施工图审查
办理单位:具有资质的施工图审查机构
内容:审查建筑、结构、水电、消防等图纸是否符合规范。
6. 施工许可
办理部门:住建局(或行政审批局)
条件:
已取得《建设工程规划许可证》
施工图审查合格

有中标通知书或合同
施工单位具备相应资质
所需材料:
施工许可证申请表
中标通知书或合同
施工图审查合格书
资质证书
安全生产条件审查
四、环保与安全相关手续
7. 环境影响评价(环评)
适用范围:可能对环境造成影响的项目。
办理部门:生态环境局
内容:评估项目对环境的影响并提出防治措施。
8. 安全施工许可
办理部门:应急管理局(或住建局)
内容:确保施工过程中的安全生产条件。
9. 消防设计审查与验收
适用范围:涉及消防安全的建筑工程
办理部门:消防救援机构
流程:
消防设计审查(施工前)
消防验收(竣工后)
五、竣工验收阶段
10. 竣工验收备案
办理部门:住建局
内容:确认工程符合设计和规范要求,具备使用条件。
11. 竣工验收备案表
用途:作为房屋交付使用的依据。
六、其他可能需要的手续
| 手续名称 | 适用情况 | 办理部门 |
| 人防工程审批 | 涉及人防设施的项目 | 人民防空办公室 |
| 水利设施审批 | 涉及水利设施的项目 | 水利局 |
| 防雷装置设计审核 | 涉及防雷的建筑 | 气象局 |
| 市政配套审批 | 涉及市政基础设施的项目 | 市政工程管理部门 |
七、常见证件汇总
| 证件名称 | 作用 |
| 项目立项批复 | 项目合法性的前提 |
| 建设用地规划许可证 | 确认用地符合规划 |
| 建设工程规划许可证 | 建设活动合法性依据 |
| 施工许可证 | 准许施工的法律凭证 |
| 竣工验收备案 | 工程交付使用的依据 |
注意事项:

不同地区、不同类型的工程(如住宅、商业、工业、市政等)所需手续可能略有不同。
部分手续可合并办理,如“多证联办”、“一窗受理”等。
建议提前咨询当地住建局或行政审批局,获取最新政策和流程。
