工程型式包括什么项目
“工程型式”这个术语在不同的行业和语境中可能有不同的含义。但在工程管理、项目规划或产品设计等领域中,“工程型式”通常指的是工程项目的类型、结构形式或实施方案,即根据工程的性质、规模、技术特点等进行分类。
以下是常见的“工程型式”所包括的一些项目或分类:

一、按工程性质分类(常见类型)
1. 建筑工程
住宅建筑
商业建筑(如写字楼、商场)
公共建筑(如学校、医院、体育场馆)
2. 市政工程
道路桥梁工程
市政管网(给水、排水、燃气、热力)
城市绿化与景观工程
3. 工业工程
工厂建设
生产线设备安装
车间改造与扩建
4. 交通工程
铁路工程
公路工程
港口与航道工程
机场工程
5. 水利水电工程
水库大坝
水电站
灌溉工程
防洪工程
6. 电力工程
输变电工程
配电系统
变电站建设
7. 环保工程
污水处理厂
固废处理设施
大气污染治理工程
8. 通信工程
通信基站建设
光纤网络铺设
有线/无线通信系统
9. 矿山工程
矿井建设
选矿厂建设
矿山安全系统
10. 园林工程
公园绿地建设
景观雕塑与小品
垂直绿化与屋顶花园

二、按工程实施方式分类
1. EPC总承包工程
设计、采购、施工一体化承包
2. 施工总承包
施工单位负责全部施工任务
3. 专业分包工程
将某一专业部分分包给其他单位
4. PPP(PublicPrivate Partnership)项目
政府与社会资本合作模式
5. BOT(BuildOperateTransfer)项目
建设—运营—移交模式
6. BT(BuildTransfer)项目
建设—移交模式
三、按工程规模分类
1. 大型工程
投资额高、工期长、技术复杂(如高铁、大型水电站)
2. 中型工程
投资适中、规模较大(如中型商业综合体)
3. 小型工程
投资少、周期短(如社区道路维修、小型厂房建设)
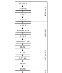
四、按工程阶段分类
1. 勘察设计阶段
地质勘察、初步设计、施工图设计等
2. 施工阶段
土建施工、设备安装、调试等
3. 验收交付阶段
工程竣工验收、资料归档、交付使用
五、按工程技术类型分类
1. 钢结构工程
2. 混凝土结构工程
3. 装配式建筑
4. 绿色建筑
5. 智能建筑
6. BIM(建筑信息模型)工程
六、按工程管理模式分类
1. 传统管理模式(DBB)
2. 设计建造(DB)模式
3. 项目管理承包(PMC)
4. 代建制

5. 全过程咨询
:工程型式包括的主要项目如下:
| 类别 | 包括项目 |
| 建筑工程 | 住宅、商业、公共建筑等 |
| 市政工程 | 道路、桥梁、管网等 |
| 工业工程 | 工厂、生产线等 |
| 交通工程 | 铁路、公路、机场等 |
| 水利水电 | 水库、水电站等 |
| 电力工程 | 输变电、配电等 |
| 环保工程 | 污水处理、固废处理等 |
| 通信工程 | 基站、光纤等 |
| 矿山工程 | 矿井、选矿厂等 |
| 园林工程 | 公园、绿化等 |
